產品目錄
PRODUCT CENTER- 能見度監測站
- 負氧離子監測站
- 公路氣象站
- 空氣質量監測站
- 負氧離子檢測儀
- VOC在線監測設備
- 隧道檢測設備
- 走航設備
- 路面狀況傳感器
- 煙氣分析儀
- 粉塵濃度檢測儀
- 粉塵采樣器
- 便攜式EL檢測儀
- 惡臭監測設備
- 光透過率檢測儀
- 風量儀
- 便攜式iv測試儀
- 雷達測速儀
- 電能質量分析儀
- 光伏電站灰塵監測系統
- 組串電源
- 噪聲監測站
- 輻射傳感器
- 光伏氣象站
- GNSS位移監測站
- 車載氣象站
- 便攜式氣象站
- 云高儀
- 生命探測儀
- 漏電探測儀
- 氣體檢測儀
- 能見度傳感器
- 在線塵埃粒子計數器
- 雷電預警系統
- 全天空成像儀
推薦文章
- 噪聲在線監測系統讓噪聲污染不再“隱形”
- 便攜式負離子甲醛pm2.5檢測儀守護呼吸的便攜式空氣管家
- 手持式能見度檢測儀便攜而安全的能見度監測儀器
- 團霧來襲不用慌,能見度監測站早預警
- 激光云高儀-激光探云千余里
- 車載氣象站一款移動的氣象觀測設備
- 空氣負氧離子檢測儀負氧離子檢測的專業利器
- 隧道光強度監測儀實現毫米級隧道光照監測精度
- 便攜式負離子檢測儀人們了解空氣狀況的可靠幫手
- 雷電監測預警系統為規避雷電風險提供有力支持
- 捕捉空氣里的 “健康因子”:負氧離子檢測儀
- 不碰路面也能測!非接觸式路面傳感器揪出積水積雪結冰
聯系我們
聯系人:趙經理
聯系電話:13645368788
客服QQ:841106043
公司地址:山東省濰坊高新區新城街道玉清社區光電路155號濰坊高新區光電產業加速器(一期)1號樓301
路面狀況傳感器
更新時間: 2025-11-21產品詳情
一、路面狀況傳感器產品介紹
路面狀況傳感器又稱路面狀況檢測器,路面狀況檢測儀,路面狀況傳感器提高了公路養護和公路管理的效率,為公眾提供準確,全面的公路氣象信息,避免公路交通延誤,減少因惡劣天氣誘發的交通事故。
路面狀況傳感器又稱路面狀況檢測器,路面狀況傳感器采用遙感技術,多光譜測量技術使得能準確檢測道出道路表面結冰、積雪和積水的存在狀態和厚度,同時還能實時監測影響交通安全的大霧、雨和雪等天氣現象。
WX-LM1系列非接觸式路面狀態檢測器,它采用遙感技術,避免了對道路的破壞,從而不會因為安裝道路氣象站引起的對交通的干擾。多光譜測量技術使得能準確檢測道出道路表面結冰、積雪和積水的存在狀態和厚度,同時還能實時監測影響交通安全的大霧、雨和雪等天氣現象。
二、功能
l檢測路面積水、積雪、結冰狀態
l遠距離遙感檢測路面、橋面狀況
l非埋入式安裝快捷簡便
l車流量和事故多發區域
l雨雪多發區域
l維護成本低
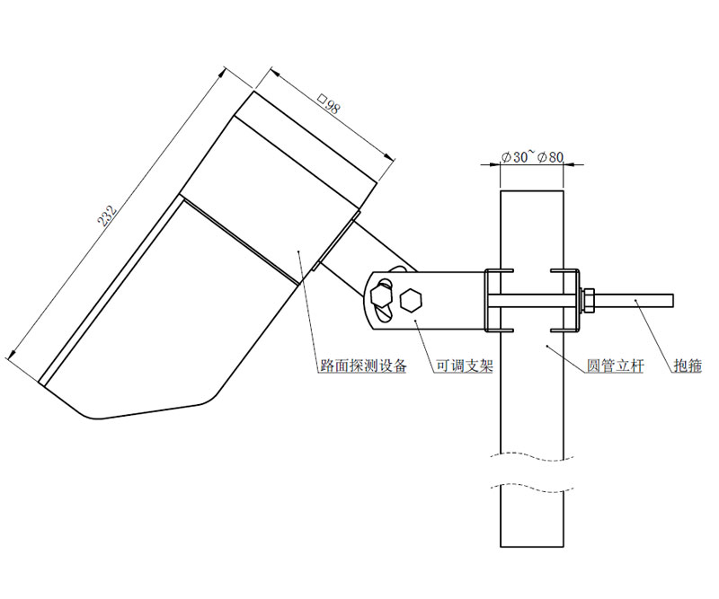
三、產品尺寸圖

四、主要指標
型號 | WX-LM3(停售) | WX-LM1 |
檢測距離及檢測區域直徑 | 2-8米;23cm | |
對水平線的安裝角度 | 30-80度 | |
電源及功耗 | DC12-24V; 0.6W | |
工作溫度和濕度 | 溫度:-40 oC 至 +60 oC ; 濕度:0 至 95% | |
積水厚度 | - | 0-10 mm |
覆冰厚度 | - | 0-2 mm |
積雪厚度 | - | 0-2 mm |
濕滑程度 | - | 0.01(濕滑)-0.82(摩擦強) |
路面狀態報告 | 干燥、 潮、 濕、 雪、 冰、 冰水混合 | |
公路天氣現象(選配) | 路面溫度: -40 oC 至 +60 oC | |
天氣現象: 雨;雪;大霧 | ||
路面材料 | 混凝土、瀝青路面 | |
通訊 | RS485、RS232 | |
本文地址:http://m.9lunwang.com/lmzk/62.html
- 上一篇:沒有了!
- 下一篇:非接觸式路面傳感器
最新文章
-
2025-11-21 15:26:48
?噪聲在線監測系統讓噪聲污染不再“隱形”
-
2025-11-21 15:25:07
?便攜式負離子甲醛pm2.5檢測儀守護呼吸的便攜式空氣管家
-
2025-11-20 15:35:51
?手持式能見度檢測儀便攜而安全的能見度監測儀器
-
2025-11-20 15:32:58
?團霧來襲不用慌,能見度監測站早預警
-
2025-11-19 15:51:20
?激光云高儀-激光探云千余里
-
2025-11-19 15:44:58
?車載氣象站一款移動的氣象觀測設備
-
2025-11-18 14:29:00
?空氣負氧離子檢測儀負氧離子檢測的專業利器
-
2025-11-18 14:26:06
?隧道光強度監測儀實現毫米級隧道光照監測精度
-
2024-12-26 16:02:06
?便攜式氣象觀測站可作為自然災害救援能力提升工程設備之一
-
2024-11-04 15:51:01
?GNSS形變監測系統在地質災害監測中的優點
-
2025-06-23 15:37:59
?光伏無人機EL檢測掃描設備,有什么優勢值得選擇?
-
2025-09-15 15:03:55
?一體化負氧離子監測站,讓環境監測更直觀、更有趣!
-
2025-04-09 15:55:21
?小型車載自動氣象站,為什么很多大型活動的舉辦選擇它?
-
2024-02-20 16:31:08
?粉塵顆粒物在線監測儀為人們的健康生活筑起了一道堅實的屏障
-
2025-03-27 15:43:15
?視頻款車載氣象站,對于大型賽事氣象監測有突出優勢
-
2025-09-03 15:13:23
?光伏電站環境監測系統:守護綠色能源的“智慧衛士”
